اپل
- zoomit
پتنت جدید اپل شایعات آیفون، آیپد و مکبوک تیتانیومی را باردیگر مطرح کرد
استفاده از تیتانیوم باعث میشود علاوهبر مقاومتی مشابه، بدنهای سبکتر داشته باشید.
بیشتر بخوانید » - zoomit
احتمال استفاده از قابلیت نمایشگر همیشهروشن در آیفون 14 پرو قوت گرفت
اپل احتمالاً برای ارائهی قابلیت مورد انتظار نمایشگر همیشهروشن در آیفون 14 پرو، حالت یک هرتز را به صفحهنمایش این…
بیشتر بخوانید » - zoomit
اپل زمانبندی برگزاری رویداد WWDC 2022 را اعلام کرد
اپل رسماً اعلام کرد نطق اصلی مراسم WWDC 2022 را شانزدهم خرداد ساعت ۲۱:۳۰ به وقت تهران برگزار میکند. در…
بیشتر بخوانید » - zoomit
اپل تحویل سفارشهای جدید مک بوک پرو را بهتأخیر انداخته است
اپل سفارشهای جدید مک بوک پرو، آی مک، مک استودیو و چند محصول دیگر را با تأخیر بهدست مشتری میرساند…
بیشتر بخوانید » - zoomit
اپل شرکتهای چینی را از فهرست تأمینکنندگان دوربین سلفی آیفون 14 خط میزند
بهنظر میرسد بهدلیل کیفیت دورازانتظار دوربین تأمینکنندگان چینی، اپل تصمیم گرفته است امسال برای تأمین دوربین سلفی گوشی آیفون 14…
بیشتر بخوانید » - zoomit
اپل احتمالاً قصد دارد روترهای محبوب Airport را با مشخصات جدید احیا کند
پرونده FCC نشان میدهد اپل در حال ساخت روتر جدیدی است که سیستمعامل iOS را اجرا میکند.
بیشتر بخوانید » - zoomit
انتقاد هند از سیاستهای انحصارگرایانه در پلی استور و اپ استور
نهاد تنظیم مقررات هند در گزارش جدیدی سیاستهای اپ استور و پلی استور را زیر سؤال برده و تسلط دو…
بیشتر بخوانید » - zoomit
رندرهای فاششده اپل واچ سری ۸ را در طراحی جدید بهنمایش میگذارند
تصاویر جدیدی از رندرهای اپل واچ سری ۸ منتشر شده است که شش رنگ مختلف این ساعت هوشمند را نشان…
بیشتر بخوانید » - zoomit
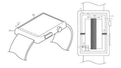
اپل برای حذف موتور هپتیک در اپل واچ باتری را به لرزه درخواهد آورد
اپل بهدنبال راهی است تا حرکتدادن باتری سبب ایجاد ویبره در اپل واچ شود؛ بنابراین، دیگر به موتور هپتیک اختصاصی…
بیشتر بخوانید » - zoomit
اپل به دلیل محدودیتهای قرنطینه، تولید محصولات در خارج از خاک چین را افزایش میدهد
گزارشی جدید میگوید اپل بهدلیل تعطیلیهای گسترده در چین پس از بالا رفتن آمار ابتلا به کرونا تصمیم گرفته حجم…
بیشتر بخوانید »









